如何使用手机或者电脑查看QQ登录记录?
为了我们的QQ安全和个人财产信息安全,有时候我们需要查看自己的QQ有没有被别人私自登录过。但是,我们在哪里或者通过什么手段能过查询这些QQ登录记录呢?那么,手机QQ安全中心就可以帮你解决这个问题。一起来看看怎么操作的吧。
一、用手机查看QQ登录记录
- 01
首先我们先打开手机【App Store】,搜索下载【QQ安全中心】,然后在手机上进行安装。
- 02
安装完以后,打开进入【QQ安全中心】,在界面的下方点击【账号】。
- 03
在进入的界面再点击上方的【登录记录】图标,如图所示。
- 04
这时就会弹出一个【我的足迹】窗口,它详细地显示了【当前记录】和【最近登录记录】,很好地方便你掌控QQ登录状态。
- 05
有时我们要对登录记录进行删除,那就点击右上方的图标,如图所示。
- 06
然后点击【清空】,退出【QQ安全中心】即可。
二、使用电脑查看QQ登录记录
- 01
打开电脑,搜狗搜索【QQ安全中心】,点击进入官方网站。

- 02
进入【QQ安全中心】首页,就可以看到最近一次的登录情况。然后点击【查看更多】。
- 03
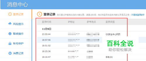
在进入的页面再点击【登录记录】。
- 04
在弹出的页面,就可以清楚地了解QQ登录情况了,包括登录的具体时间、IP地址、城市和登录设备,都可以一目了然。
赞 (0)

